Pacman: Reinforcement Learning and AI Agents

Implemented core RL algorithms to train intelligent agents that learn optimal behavior through planning and experience. Using value iteration and Q-learning, the agent learns to make sequential decisions in uncertain environments — demonstrating how reward-driven feedback enables adaptive strategies and long-term optimization.

CS 188
Recycle.ai
Recycle.ai: Improving consumer recycling

A mobile app that uses machine learning to provide real-time, location-specific recycling recommendations. It simplifies recycling, helps users follow local guidelines, and aims to standardize practices — reducing waste, conserving resources, and supporting environmental sustainability.

Demo
Aurdr
Aurdr: E-commerce for students

A shopping app designed to provide students with a quick and easy way to purchase basic necessities like school supplies, apparel, beverages, and electronics. Available on both web and mobile platforms, Aurdr allows customers to browse items, add to cart, and place a delivery order.

Newsletter
Patent
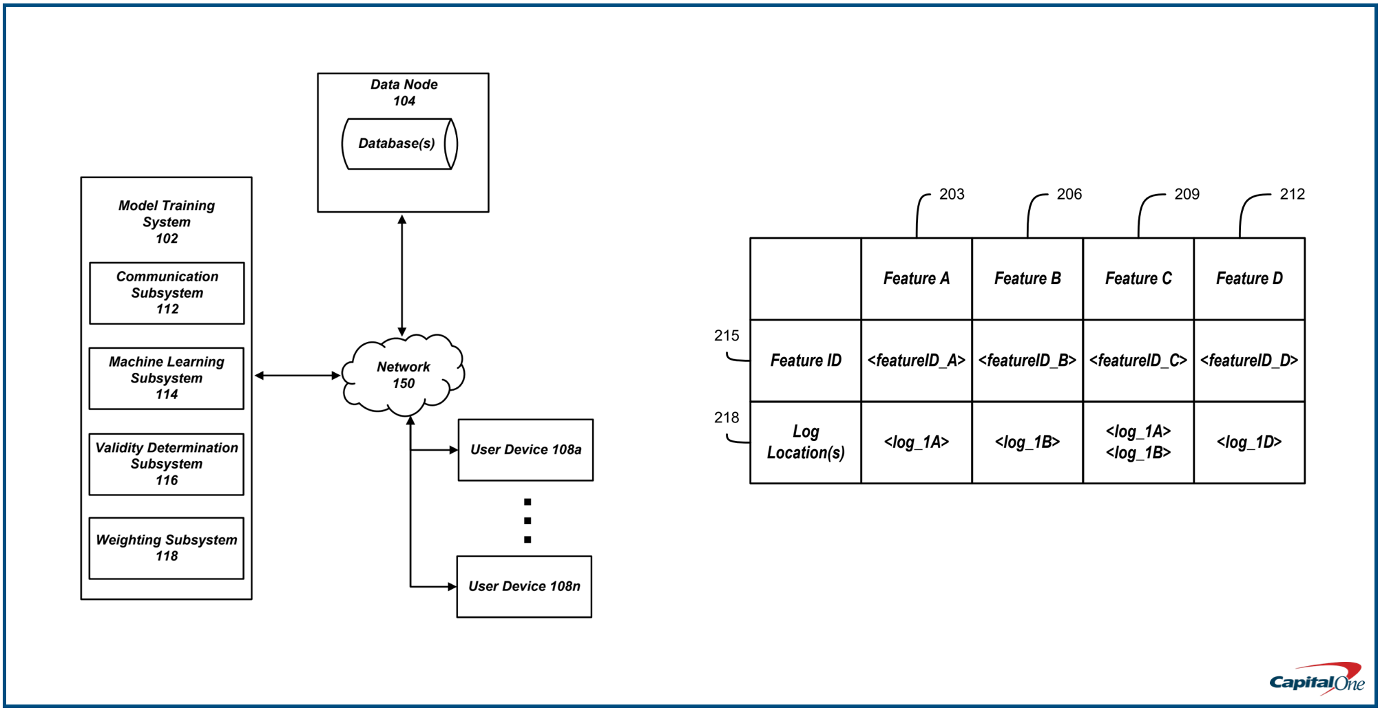
Patent: Training Machine Learning Models Based On Feature Validity

Authored a patent describing a system that enhances the accuracy of machine learning models by evaluating and incorporating feature validity during training. This method helps sustain model performance over time, even when feature generation processes face disruptions or failures.

USPTO
SCET Leader Studio
Greta Thunberg: The Voice of Our Planet

This case study covers the efforts and mission of climate activist Greta Thunberg and the attributes which make her a north star leader. By exploring the nuances of her influence and that of other north star leaders, this case discusses the key characteristics of a vision-driven leader.

SCET Leader Studio
Nucleation study
Nucleation and Growth During the Crystallization of Amorphous Tellurium Thin Films

Nucleation is a thermally activated process which can be used to develop high quality crystalline semiconductor materials on any non-crystalline substrate at low temperatures. This study explores the kinetics and crystallization of amorphous Tellurium with investigations into the low temperature growth of high-quality thin films on amorphous silica substrates.

Javey Research Group
JHU nanoparticles
Controlling Size of PEG-PLGA Nanoparticles by Flash Nano Precipitation Using a Confined Impinging Jet Device

Polymeric nanoparticles are used for a variety of biomedical applications as a result of inexpensive production costs and a wide range of physicochemical properties. This study investigates the effect of material input flow rates on the size distribution of PEG-PLGA nanoparticles for antigen delivery.

JHU INBT
Prussian Blue nanoparticles
Synthesis and Characterization of Prussian Blue Nanoparticles for Tumor Targeting

This study describes the use of Prussian Blue, a ferrous ferrocyanide compound, in nanoparticles for tumor targeting. Prussian Blue exhibits robust heating when exposed to near-infrared light, enabling tailored nanoparticles to target cancer cells within the body. Characterized for photothermal heating and compared with industry standards.

Children's National Medical Center